Identificación de Componentes

Analizamos la información física de repuestos (mediante la observación y toma de medidas), y la ayuda de planos - especificaciones técnicas existentes, se busca obtener la identificación del componente (marca, modelo) de esa manera podemos ofrecer una importante reducción del costo del repuesto en un menor tiempo de entrega, debido a que trabajamos con vendedores internacionales que poseen un gran inventario de repuestos.

El levantamiento de información ayuda a las empresas a no depender de las fábricas de origen de las máquinas, permiten un mejor manejo del mantenimiento.

Estamos en la capacidad de identificar cualquier componente de la industria minera y construcción, dentro y fuera de nuestras instalaciones.

Casos

Recientemente trabajamos con el apoyo de la empresa MDH SAC, se trabajo de manera conjunta realizando el levantamiento de información de los componentes del panel de control de la sonda de perforación B-15, entregando a nuestro cliente la información solicitada y obteniendo la orden de compra por todas las válvulas identificadas.

Download

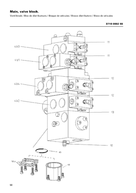
Se realizó el levantamiento de información del block de válvula principal de las Sondas Diamec 282 y Diamec U6 lográndose identificar la procedencia, modelo, especificaciones y proveedor de dicho producto. Permitiendo a nuestros clientes una disponibilidad inmediata a un costo significativamente menor